中心简介
中心资质
加入我们
联系我们
质量方法技术
卓越绩效导入
质量培训
质量政策
质量奖
品牌强企
质量强县(区)
工程咨询服务
咨询报告编制
工程造价咨询
行研报告
规划咨询
PPP咨询
上市债券咨询
环保科技
质量管理体系认证
环境管理体系认证
职业健康安全认证
绿色建材认证
建材检测
GB/T50430 建设施工行业质量管理体系认证
HACCP危害分析与关键控制点
ISO22000食品安全管理体系认证
企业资质
荣誉证书
人员证书
申报服务
政策法规
高新技术企业申报
专精特新企业申报
专精特新小巨人申报
奖励补助
国内市场开拓资助
国际市场开拓资助
研发资助项目申报
技术改造投资补贴
科技中小企业申报
安全评价
安全标准化
环保咨询
消防验收
环境影响评价
环境应急预案
社会风险评估
排污许可证
竣工环保验收
场地污染评估修复
招商引资服务
选址服务
融资服务
发明专利
商标转让
著作权
地理标志
品牌管理
知产政策
公司新闻
政策发布
互动交流
人力资源
常见问题
企业风采
企业位置
产品展示
企培微课
检测
万能查询
申请公布号:
CN106829014A
申请公布日:
2017.06.13
申请号:
2017101886117
申请日:
2017.03.27
申请人:
王柏挺
发明人:
地址:
271100山东省莱芜市钢城区新兴路66号1号楼3单元201室
分类号:
B65B11/06(2006.01)I 全部
摘要:
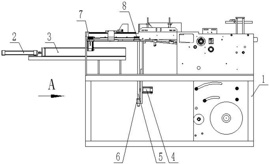
本发明涉及一种全伺服三维裹包机,包括机架以及安装在机架上的待包装产品输送机构、升降机构、推送机构、包装纸传送机构、送膜机构、切膜机构和PLC可编程控制器,所述PLC可编程控制器分别与待包装产品输送机构、升降机构、推送机构、包装纸传送机构、送膜机构和切膜机构电路连接。与现有技术相比较,设备振动、运行噪音大大降低,安装调试、生产操作的难度大大降低,工人只要简单输入尺寸就可以实现准确包装;伺服电机传动的特点,比之于以前凸轮传动的方式,预期设备使用寿命和维护周期大大提高。
电话:15905657669
微信客服