中心简介
中心资质
加入我们
联系我们
质量方法技术
卓越绩效导入
质量培训
质量政策
质量奖
品牌强企
质量强县(区)
工程咨询服务
咨询报告编制
工程造价咨询
行研报告
规划咨询
PPP咨询
上市债券咨询
环保科技
质量管理体系认证
环境管理体系认证
职业健康安全认证
绿色建材认证
建材检测
GB/T50430 建设施工行业质量管理体系认证
HACCP危害分析与关键控制点
ISO22000食品安全管理体系认证
企业资质
荣誉证书
人员证书
申报服务
政策法规
高新技术企业申报
专精特新企业申报
专精特新小巨人申报
奖励补助
国内市场开拓资助
国际市场开拓资助
研发资助项目申报
技术改造投资补贴
科技中小企业申报
安全评价
安全标准化
环保咨询
消防验收
环境影响评价
环境应急预案
社会风险评估
排污许可证
竣工环保验收
场地污染评估修复
招商引资服务
选址服务
融资服务
发明专利
商标转让
著作权
地理标志
品牌管理
知产政策
公司新闻
政策发布
互动交流
人力资源
常见问题
企业风采
企业位置
产品展示
企培微课
检测
万能查询
申请公布号:
CN117846834A
申请公布日:
2024.04.09
申请号:
2023104113544
申请日:
2023.04.13
申请人:
温州汇众汽车电器有限公司
发明人:
戴斌裕
地址:
325204浙江省温州市瑞安市塘下镇鲍田官渎村工业小区路6号
分类号:
F02M26/73(2016.01)I; 全部
摘要:
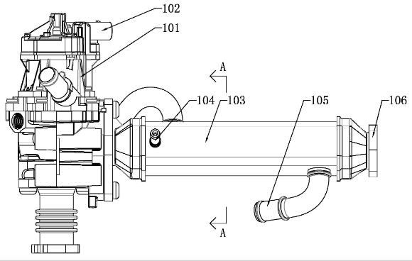
本申请公开了一种废气再循环阀及其加工装置,循环阀本体、废气进气管和废气循环管,还包括降温装置,其包括降温罩、进水管和排水管,降温罩套设在废气循环管外侧,水流从进水管进入降温罩内腔,从排水管排出,废气循环管包括一对端板,分别安装在降温罩两端;若干导热管,间隔设置在一对端板之间,两端贯通,各导热管的一端均连通循环阀本体内腔,降温罩内壁与各导热管外壁之间形成换热腔,高温废气经过废气循环管内的各导热管内腔,水流从进水管进入换热腔,经过各导热管表面时对流经各导热管内腔的高温废气进行降温,使高温废气得到有效降温。
电话:15905657669
微信客服