中心简介
中心资质
加入我们
联系我们
质量方法技术
卓越绩效导入
质量培训
质量政策
质量奖
品牌强企
质量强县(区)
工程咨询服务
咨询报告编制
工程造价咨询
行研报告
规划咨询
PPP咨询
上市债券咨询
环保科技
质量管理体系认证
环境管理体系认证
职业健康安全认证
绿色建材认证
建材检测
GB/T50430 建设施工行业质量管理体系认证
HACCP危害分析与关键控制点
ISO22000食品安全管理体系认证
企业资质
荣誉证书
人员证书
申报服务
政策法规
高新技术企业申报
专精特新企业申报
专精特新小巨人申报
奖励补助
国内市场开拓资助
国际市场开拓资助
研发资助项目申报
技术改造投资补贴
科技中小企业申报
安全评价
安全标准化
环保咨询
消防验收
环境影响评价
环境应急预案
社会风险评估
排污许可证
竣工环保验收
场地污染评估修复
招商引资服务
选址服务
融资服务
发明专利
商标转让
著作权
地理标志
品牌管理
知产政策
公司新闻
政策发布
互动交流
人力资源
常见问题
企业风采
企业位置
产品展示
企培微课
检测
万能查询
申请公布号:
CN115583496A
申请公布日:
2023.01.10
申请号:
2022112802582
申请日:
2022.10.19
申请人:
张远光
发明人:
地址:
223800江苏省宿迁市宿城区宿城经济开发区科创路东侧江苏天开能源技术有限公司
分类号:
B65G47/90(2006.01)I; 全部
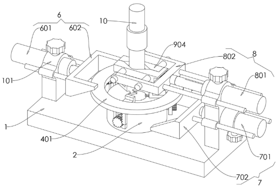
摘要:
本发明提供一种用于液压马达主轴生产的自动上料装置,涉及马达主轴上料技术领域,解决了主轴自动上料,主轴自动运输,三爪卡盘对主轴自动夹紧的问题,包括支撑底板;所述支撑底板的上方有两个支撑腿,支撑腿开设有安装孔,支撑腿安装有锁紧螺栓;所述三爪卡盘安装有三个呈环形阵列状分布的调节螺栓,三爪卡盘安装在支撑底板的上方;所述驱动座卡接在调节螺栓的内侧。通过推动组件实现主轴的自动运输,通过上料机构实现主轴的自动下料,同时通过上料机构对主轴支撑,通过第一支撑架和第二支撑架对主轴夹紧,通过第一支撑架和第二支撑架的设置,将加工完成后的主轴自动搬运。
电话:15905657669
微信客服