中心简介
中心资质
加入我们
联系我们
质量方法技术
卓越绩效导入
质量培训
质量政策
质量奖
品牌强企
质量强县(区)
工程咨询服务
咨询报告编制
工程造价咨询
行研报告
规划咨询
PPP咨询
上市债券咨询
环保科技
质量管理体系认证
环境管理体系认证
职业健康安全认证
绿色建材认证
建材检测
GB/T50430 建设施工行业质量管理体系认证
HACCP危害分析与关键控制点
ISO22000食品安全管理体系认证
企业资质
荣誉证书
人员证书
申报服务
政策法规
高新技术企业申报
专精特新企业申报
专精特新小巨人申报
奖励补助
国内市场开拓资助
国际市场开拓资助
研发资助项目申报
技术改造投资补贴
科技中小企业申报
安全评价
安全标准化
环保咨询
消防验收
环境影响评价
环境应急预案
社会风险评估
排污许可证
竣工环保验收
场地污染评估修复
招商引资服务
选址服务
融资服务
发明专利
商标转让
著作权
地理标志
品牌管理
知产政策
公司新闻
政策发布
互动交流
人力资源
常见问题
企业风采
企业位置
产品展示
企培微课
检测
万能查询
申请公布号:
CN109008229A
申请公布日:
2018.12.18
申请号:
2018111563874
申请日:
2018.09.30
申请人:
南京英维尔科技服务有限公司
发明人:
吴先锋;李桂玉
地址:
210000江苏省南京市江北新区星火路9号软件大厦B座407-81室
分类号:
A47B31/00(2006.01)I 全部
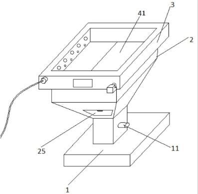
摘要:
本申请实施例公开了一种自清理型餐桌,包括支撑座、位于支撑座上方的餐桌主体及位于餐桌主体顶端的桌面,其特征在于,餐桌还包括套设在餐桌主体上部的清洗组件;清洗组件与餐桌主体的外壁之间为可滑动连接;清洗组件的一侧设有控制器;桌面由两片完全相同且相对设置的半桌板组成;半桌板的下方设有支撑组件;餐桌主体与支撑座之间设有过滤网架;支撑座一侧设有排液口。每次用餐结束后,由控制器接收清理桌面指令,控制半桌板向下翻转,清洗组件向上升起;再由控制器控制清洗组件完成对桌面的清洗,节省人力操作,清洁效果好;并且采用过滤网架将清洗后的污水固液分离,便于分类排放。
电话:15905657669
微信客服